Σχέδια που δημοσιεύθηκαν σε Ιαπωνικό περιοδικό δείχνουν την μορφή μιας νέας γενιάς του υπερτροφοδοτούμενου τέρατος H2, που θα έχει την ονομασία Η2 GT και πιθανολογείται να κυκλοφορήσει του χρόνου!
Εκεί στην Kawasaki το έχουν πάρει πολύ στα σοβαρά, το θέμα της υπερτροφοδότησης! Αφού προκάλεσαν παγκόσμια αναταραχή με την παρουσίαση του H2 το 2014, οι τεχνικοί της Kawasaki δεν φαίνεται να ησυχάζουν!
Σύμφωνα με το Ιαπωνικό περιοδικό Young Machine, του χρόνου η εταιρεία θα παρουσιάσει μια νέα έκδοση της υπερμοτοσυκλέτας, η οποία θα ονομάζεται H2 GT και θα έχει αρκετές αλλαγές! Μάλιστα, έδωσε στη δημοσιότητα ένα 3D rendering, βασισμένο σε σχέδια που είχαν κατατεθεί προς κατοχύρωση.
Η μοτοσυκλέτα που απεικονίζεται είναι εξαιρετικά επιθετική σε εμφάνιση, ενώ ξεχωρίζει από την υπάρχουσα Η2 με το μεγαλύτερο, αφάνταστα αιχμηρό ρύγχος της, τα μεγαλύτερα πλευρικά πλαστικά αλλά και την ύπαρξη καρίνας.
Μάλιστα, ενδιαφέρον προκαλεί το γεγονός ότι το νέο Kawasaki θα έχει νέα, μετακινούμενα πτερύγια στα πλευρά, τα οποία δεν φαίνονται στο rendering, αλλά έχουν κατατεθεί σχέδια και για αυτά! Στο σχέδιο επίσης φαίνεται μια ξεκάθαρα διπλή και αρκετά πιο άνετη, αν κρίνουμε μόνο από την εμφάνιση, σέλα, που ίσως να δικαιολογεί και τον χαρακτηρισμό Grand Touring-GT.
Για να δούμε λοιπόν! Τι περιμένουμε; Οι φήμες λένε ότι η μοτοσυκλέτα που ετοιμάζει η Kawasaki θα είναι αυτή που θα τεθεί απέναντι στο –έντονα φημολογούμενο- υπερτροφοδοτούμενο Hayabusa που ετοιμάζεται επίσης!
Πηγή: mototriti
Εκεί στην Kawasaki το έχουν πάρει πολύ στα σοβαρά, το θέμα της υπερτροφοδότησης! Αφού προκάλεσαν παγκόσμια αναταραχή με την παρουσίαση του H2 το 2014, οι τεχνικοί της Kawasaki δεν φαίνεται να ησυχάζουν!
Σύμφωνα με το Ιαπωνικό περιοδικό Young Machine, του χρόνου η εταιρεία θα παρουσιάσει μια νέα έκδοση της υπερμοτοσυκλέτας, η οποία θα ονομάζεται H2 GT και θα έχει αρκετές αλλαγές! Μάλιστα, έδωσε στη δημοσιότητα ένα 3D rendering, βασισμένο σε σχέδια που είχαν κατατεθεί προς κατοχύρωση.
![]() |
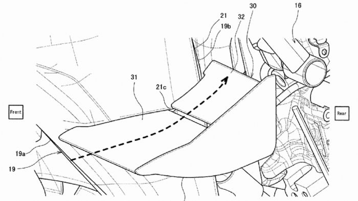
| Tα εν λόγω νέα, μετακινούμενα πτερύγια του πιθανολογούμενου μοντέλου. |
Μάλιστα, ενδιαφέρον προκαλεί το γεγονός ότι το νέο Kawasaki θα έχει νέα, μετακινούμενα πτερύγια στα πλευρά, τα οποία δεν φαίνονται στο rendering, αλλά έχουν κατατεθεί σχέδια και για αυτά! Στο σχέδιο επίσης φαίνεται μια ξεκάθαρα διπλή και αρκετά πιο άνετη, αν κρίνουμε μόνο από την εμφάνιση, σέλα, που ίσως να δικαιολογεί και τον χαρακτηρισμό Grand Touring-GT.
Για να δούμε λοιπόν! Τι περιμένουμε; Οι φήμες λένε ότι η μοτοσυκλέτα που ετοιμάζει η Kawasaki θα είναι αυτή που θα τεθεί απέναντι στο –έντονα φημολογούμενο- υπερτροφοδοτούμενο Hayabusa που ετοιμάζεται επίσης!
Πηγή: mototriti


0 σχόλια:
Δημοσίευση σχολίου